
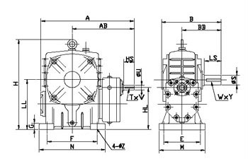
FA |
Shaft
Direction
 |
| SIZE | RATIO | A | AB | B | BB | E | F | G | H | HL | LL | M | N | Z | INPUT SHAFT | OUTPUT SHAFT | | HS | U | T×V | LS | S | W×Y | | 80 | 1/80 1/90 1/100 1/120 1/150
1/180 |
317 | 213 | 210 | 140 | 135 | 180 | 20 | 273 | 130 | 160 | 170 | 220 | 15 | 35 | 15 | 5×3 | 65 | 32 | 10×4.5 | | 100 | 390 | 258 | 230 | 155 | 155 | 220 | 25 | 340 | 160 | 200 | 190 | 260 | 15 | 40 | 18 | 5×3 | 75 | 38 | 10×4.5 | | 120 | 437 | 282 | 285 | 185 | 180 | 260 | 30 | 405 | 190 | 240 | 230 | 320 | 18 | 40 | 20 | 5×3 | 85 | 45 | 12×4.5 | | 135 | 496 | 321 | 320 | 210 | 200 | 290 | 30 | 455 | 210 | 270 | 250 | 350 | 18 | 50 | 25 | 7×4 | 95 | 55 | 15×5 | | 155 | 559 | 367 | 387 | 252 | 220 | 320 | 35 | 486 | 215 | 290 | 280 | 390 | 20 | 60 | 30 | 7×4 | 110 | 60 | 15×5 | | 175 | 630 | 407 | 407 | 262 | 250 | 350 | 37 | 556 | 260 | 335 | 310 | 430 | 20 | 75 | 35 | 10×4.5 | 110 | 65 | 18×6 | |